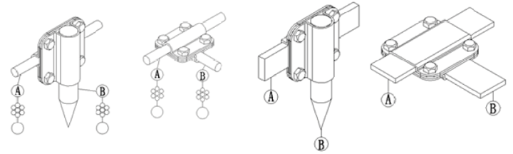
线夹、多项线夹

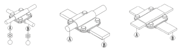
一字连接

image.png


T字连接

image.png


十字连接

image.png


多项线夹

image.png

关于Helosun

公司秉承欧美先进技术与臻善管理,拥有独立研发、设计团队。企业致力于工厂的防爆安全、静电控制并设计、营销、服务一体化。

了解更多>>
联系方式

电话:021-67692116 67690659

地址:上海市松江莘砖公路258号漕河泾高科技园34幢19D座

Email:sales@hellosun.cn

Copyright 昊阳电气 all rights reserved 沪ICP备19034028号